
Resolução passo a passo com explicação detalhada
Física > Campo elétrico > Dinâmica de Partículas
Dinâmica de Partículas aparece em ~0% das questões de Física (69 questões no banco).
AFA 2026
Questão 62
Nas questões de Física, quando necessário, utilize: Densidade da água = 1,0 kg/L
ENEM 2025
Questão 109
A Figura 1 apresenta o esquema de um tubo de imagem em que um filamento, na posi
UEMA 2024
Questão 48
O pêndulo simples, a exemplo da figura ao lado, é um sistema teórico muito usado
UDESC 2023
Questão 7
Em uma região do espaço, existe um campo eletrostático uniforme de 200 N/C que c
EBMSP 2023
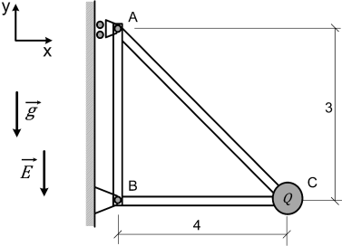
Questão 25
Trabalhando em um projeto para uma Feira de Ciências, uma estudante preparou um